Jan 29 , 2023
De nos jours, les machines de découpe de tubes laser à fibre sont très courantes sur le marché, nous le choisissons par la vitesse élevée, la haute précision et la flexibilité supérieure, etc. Mais nous savons aussi qu'il y a tellement de types de tubes sur le marché.
Type matériel: Acier au carbone, acier inoxydable, aluminium etc.
Épaisseur: 1-10mm, ou même plus haut
Longueur: normalement 6 mètres, mais parfois aussi 7M 8M, 9M, et même 12m
Taille: Certains tubes sont très petits, les diamètres ronds seulement autour de 10mm, mais certains tubes sont très grands, même jusqu'à 350mm, et peut-être plus que cela.
Normalement, nous calculons les diamètres par leur taille diagonale.
Prenons un exemple, la taille du tuyau carré est de 1*1mm, donc c'est des diamètres que nous devons calculer comme 1212= 2, puis Carré 2 = √ 2 = 1.414
Diamètre du tube donc carré, le diamètre est 1.414
Et le type C (tube de canal) et «L» sont de la même manière pour calculer les diamètres.
Type des tubes: Rond, Carré, L, C (Canal), Triangle, Plat etc.
Longueur finie: Parfois, la longueur du client est de 8m, mais la longueur du tube fini est également de 8m, il faut donc également considérer ce type d'option une fois que nous choisissonsMachine laser de découpe de tuyaux métalliques.
Longueur du matériau de la queue: Ceci est un article que tous les clients ne peuvent pas éviter, comment former le matériau de la queue, peut être compris à partir de l'image ci-dessous
Poids de la longueur: Ce sont les résultats en considérant la longueur, l'épaisseur, le type de matériau et la taille, alors nous pouvons calculer le poids, comme nous le savons, les mandrins sont des pinces pneumatiques, la capacité de chargement est limitée, les mandrins ne peuvent pas fonctionner une fois que le poids est supérieur à la capacité du mandrin
Les éléments ci-dessus sont les éléments de base que nous devons savoir, en raison du type deMachine de découpe laser feuille et tube, Nous devons considérer les éléments ci-dessus.
Puissance: Nous devons considérer l'épaisseur du matériau, le type de matériau, il est identique à la coupe de plaque, une puissance plus élevée certainement une vitesse plus élevée avec une bonne surface
Longueur: Nous devons considérer la longueur du tube, si la longueur du tube est seulement 6M, notreTube en acier inoxydable machine de découpe laserAu moins 6 mètres, et si notre longueur de tube est de 8 M, 6 M pour les machines de découpe de tubes ne suffit pas, nous devons choisir des machines de découpe de tubes de 8 m
Diamètres de mandrin: comme les articles mentionnés ci-dessus, si nos tubes sont de très petite taille, prenez exemple le diamètre maximum est seulement 200mm, notre diamètre de mandrin est Au moins 200mm, mais si le diamètre du tube est supérieur à 300mm, certainement 200mm ne sont pas assez, nous devons choisir un 300 ou 320 ou 350mm Chuck Diamètres
Capacité de Chuck: Normalement le type commun sur le marché est 6020, et la capacité de chargement est autour de 160kgs, mais si le poids du tube est encore plus de 160kgs, les machines ne peuvent pas tourner, la machine ne peut pas fonctionner
Ensuite, le reste des articles sont à la longueur finie et le matériel de queue, nous devons comprendre la différence entre 2 mandrins et 3 mandrins


Il est très facile de comprendre que 2 mandrins seulement 2 mandrins gauche et les mandrins du milieu
Mais 3 mandrins ont 3 mandrins, les mandrins gauches et les mandrins du milieu et les mandrins droits
Il faut donc vraiment ça pour ajouter un mandrin de plus? Est-ce utile ou pas? Nous devons le comparer un par un
Comment former

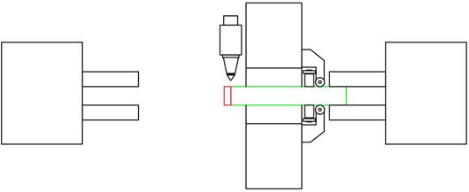
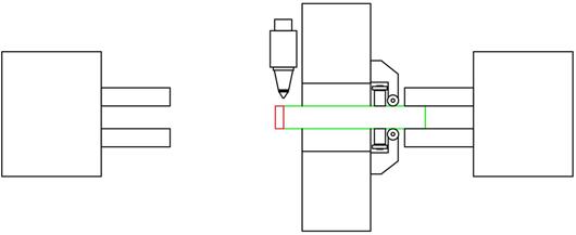
Comme le montre l'image ci-dessus: les zones pour le côté gauche de la tête, les pinces du milieu et les pinces droites griffent sont la zone aveugle, où la tête de coupe ne peut pas couper, la partie rouge que nous appelons le matériel de queue.
La longueur du matériau de queue à partir de différentsFabricants de machines de découpe de tubes laserEst différent juste parce que la longueur par la droite pince différence, normalement 160-200mm

Comme l'image de droite montrée, normalement les pinces de gauche livreront le tuyau dans le mandrin central une fois les pinces droites ouvertes, actuellement, la tête laser a juste besoin d'éviter la collision avec les pinces droites pour avoir les résultats pour réduire les déchets
Avantages: La solution est simple et facile à compléter.
La longueur du matériau de queue peut être réduite à 80mm par révision simplifiée
Inconvénients: Seulement pour les petits tuyaux, les tuyaux en matériau mince Si les tuyaux lourds, les longs tuyaux, la finition et la précision ne peuvent pas se rencontrer
1. le matériau de nidification est plus de 200mm

Les machines seront coupées par les modèles standard de 2 mandrins, le troisième mandrin se clamera comme l'ensemble
Le matériel de queue est 200mm
2. Matériau de coudification inférieur à 200mm, supérieur à 80mm et longueur du produit final supérieure à 900mm

Le mandrin du milieu se déplace vers le côté droit, la tête laser coupée une fois que la droite se serre Le matériau de queue est de 80mm
3. Matériau de tuyage de nidification inférieur à 80mm, longueur du produit final supérieure à 900mm

Le mandrin du milieu se déplace vers le côté droit, les pinces du côté gauche s'ouvrent, la tête laser coupe les endroits de l'extrémité
Le matériau de queue est 0-5mm
1. La longueur du matériau de queue de plus de 200mm, le modèle de 2 mandrin est disponible et assure la précision
2. la longueur du matériau de queue est inférieure à 200mm, plus de 80mm, et la longueur du produit final est supérieure à 900mm, et peut s'assurer
La précision
3. La longueur de queue est inférieure à 80mm et la longueur du produit final est supérieure à 900mm, et assurez-vous que la coupe de queue «0»
1. besoin de la longueur finale du tuyau plus de 900mm pour permettre le troisième mandrin, si moins de 900mm, le troisième mandrin sera inactif
2. Une fois pour avoir le matériau de coupe 0, il peut avoir perdu une fois la précision pour couper les diamètres de moins de 100mm par sa longue distance de la partie inférieure aux pinces
1. les problèmes dans la coupe des tuyaux lourds

Une fois pour couper les tuyaux lourds, les parties vertes comme l'image ci-dessus montré trop longtemps, le poids propre aura une grande force de levier qui ne peut pas neutraliser par les pinces. Les tuyaux suspendus s'abaisseront et glisseront également des pinces une fois que les reflets seront allers et retours pour avoir un résultat de coupure de défaut
Aussi ne peut pas résoudre ce genre de problèmes par le support flottant
Après les points ci-dessus, donc peut-être que nous pouvons très facile de connaître les avantages et les inconvénients pour les 3 mandrins, nous devons comprendre les clients ont besoin d'abord
3 mandrins sont certainement un bon choix, mais le coût est également certainement plus élevé en ajoutant un mandrin supplémentaire

Ci-dessus sont les détails de base pour les tubes, en fait dans les productions réelles, il est plus compliqué par son exigence différente
1) Si les tubes ne sont pas droits, est-il possible de couper et comment peut également s'assurer de la précision?
2) Normalement les tubes ont des lignes de soudage, est-il possible d'éviter les lignes de soudage?
3) Est-il possible de s'assurer que la surface intérieure est propre une fois pour couper l'acier inoxydable qui est utilisé pour l'industrie alimentaire?
4) La coupe de biseau en Chine est stable ou pas si pour comparer avec BLM Italie
5) La chargeuse automatique est-elle adaptée à tous les tubes? Et si les tubes lourds, comment charger les tubes et comment décharger les tubes?
6) 4 mandrins tube machine de découpe sont vraiment nécessaires?
7) De plus en plus de questions sont là
Remcor, un fournisseur professionnel avec 18 ans d'expérience dans l'industrie du laser, nous pouvons fournir les lignes clés en main pour les lignes de découpe laser en important les lignes terminées telles que les fraiseuses, les centres d'usinage CNC, etc.
Nous sommes heureux de recevoir vos demandes, et à la recherche du distributeur dans le monde entier, merci.
This is the last one.